Tài sản trí tuệ

Sáng chế Thiết bị hỗ trợ nâng chuyển bệnh nhân giữa giường bệnh và bồn tắm

Sáng chế Thiết bị hỗ trợ nâng chuyển bệnh nhân giữa giường bệnh và bồn tắm

4.0 (0 đánh giá) · 363 lượt xem

Danh mục: Y học

Thiết bị hỗ trợ nâng chuyển bệnh nhân giữa giường bệnh và bồn tắm.
Thông tin chủ sở hữu
Loại chủ sở hữu
Đơn vị / Tổ chức
Cá nhân
Tên đơn vị chủ sở hữu
Thông tin liên hệ
Thông tin tài sản trí tuệ
Phân loại hồ sơ
☐ Sáng chế / Giải pháp hữu ích
☐ Thiết kế bố trí vi mạch
☐ Phần mềm (Bản quyền tác giả)
☐ Khác
Tên tài sản trí tuệ
Sáng chế Thiết bị hỗ trợ nâng chuyển bệnh nhân giữa giường bệnh và bồn tắm
Tình trạng pháp lý
Số bằng / Số đơn:US 9,248,065 B1
Ngày cấp bằng:02/02/2016
Thời hạn bảo hộ đến:02/02/2016
Lĩnh vực áp dụng
☑ Y học
Nội dung mô tả
Mô tả tài sản trí tuệ (tính mới, tính sáng tạo, khả năng áp dụng)
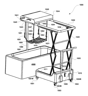
Phát minh là một thiết bị hỗ trợ nâng chuyển bệnh nhân giữa giường bệnh và bồn tắm, bao gồm một chân đế với bốn bánh xe, và hệ thống khung nâng hạ có thể thu ngắn hoặc mở rộng như một cần cẩu và được gắn với khung trên của thiết bị. Hệ thống khung nâng hạ gồm bộ đôi ròng rọc được kết nối với cáp treo và đai treo bệnh nhân và bộ phận nâng hạ bệnh nhân được thiết kế để di chuyển dọc theo khung nâng hạ của thiết bị bằng các cặp bánh xe để giúp dễ dàng tiếp cận bệnh nhân. Một thanh chống kết nối với phần trước của khung nâng hạ, có thể thay đổi chiều dài để tựa vào thành giường hoặc thành bồn tắm để giúp cân bằng thiết bị trong quá trình nâng chuyển bệnh nhân ra khỏi giường hoặc bồn tắm và ngược lại.
 
Mục tiêu kêu gọi đầu tư & Hợp tác
Phân loại mục tiêu kêu gọi
☐ Tìm nhà đầu tư tài chính
☐ Tìm đối tác sản xuất
☐ Tìm đối tác phân phối/thương mại
☐ Khác
Hình thức hợp tác mong muốn
☐ Chuyển nhượng toàn bộ bản quyền
☐ Chuyển giao quyền sử dụng (Li-xăng)
☐ Góp vốn bằng tài sản trí tuệ
☐ Hợp tác nghiên cứu phát triển thêm
☐ Khác
Tình trạng phát triển
Ý tưởng / Thiết kế
Đã có sản phẩm mẫu (Prototype)
Đã thương mại hóa
0 đánh giá